ホーム
お知らせ
ディスクブレーキとは
製品情報
資料ダウンロード
会社情報
お問い合せ
慣性モーメントとGD
2
選定方法に戻る
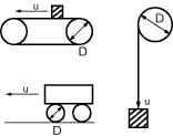
負荷物
慣性モーメント J
GD
2
中実円柱
中空円柱
立方体
直線運動
ネジ直進
加法の定理
任意軸に関して
軸変換
選定方法に戻る